Skip to content

A-3053-WXP Model: 3000W @ 480V 3-Phase 9" Immersion Length Explosion/Moisture-Resistant, Non-regulated, Incoloy Sheath With Brass 2" NPT Screw Plug Immersion Elements

Call for Availability
Original price $ 0.00 - Original price $ 0.00
Original price
$ 0.00
$ 0.00 - $ 0.00
Current price $ 0.00
Availability:
Call for Availability

Therm Coil A-3053-WXP Models

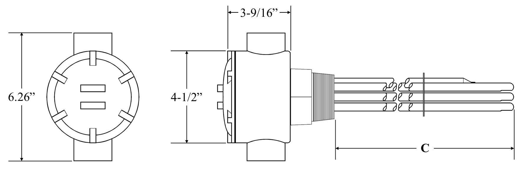
Drawing Number: 352K-1254-006

Incoloy Sheath Elements With Brass Screw Plug:

If in doubt about which materials are required for your application, please contact us at 1-724-872-5007 or rheinhold@thermcoil.com

  • INCOLOY® Sheath with Brass Screw Plug (Silver Brazed): Our A-WXP models with 45-55 watt density (W/IN.²) are for use in clean water, some marine environments including brackish water and seawater with moderate to low currents, and select mildly corrosive liquids (absolutely no hydroxides, cyanides, or oxidizing acids).

    Non-regulated (No thermostat):

    • If you need this type of element but with temperature control, please contact us if you need our EA-WXP Models which have an explosion/moisture-resistant enclosure or you can check out our EA Models online which have a NEMA 1 general purpose enclosure.

    Enclosure:

    • Explosion-Resistant Enclosure (Also Dust & Weather-Resistant): NEMA 3, 4
    • Alternate Enclosures Are Available:

                ●  Weather-Resistant Enclosures (Contact Us!)
                ●  NEMA 1 General Purpose Enclosure (Many of these models are available online)

    General Information:

    • 3000W @ 480V 3-Phase
    • Includes Thermowell: accommodates up to 3/8" DIA. sensing bulb.
    • Screw plug immersion heaters must be fully covered by your liquid to prevent heater failure. (Other medium applications are possible, but require factory consultation.)
    • All 240V models have the option to be operated at 208 VAC with a 25% reduction in wattage rating.

    Technical Specifications

    • Element Sheath Material: Incoloy 800
    • Quantity Of Elements: 3
    • Immersion Length: 9" (C Dim.)
    • Terminal Connections: #10-32 Stud Terminals, Wired For 1-Phase or 3-Phase, & Includes 7" Lead Wires
    • Screw Plug Size: 2" NPT
    • Screw Plug Material: Brass
    • Enclosure Type: NEMA 3, 4 Explosion-Resistant, Dust-Resistant, and Moisture-Resistant
    • Thermowell Accommodates Sensing Bulb Size: .375" DIA.
    • Temperature Control Type: None
    • Temperature Control Range: N/A

    Compare products

    {"one"=>"Select 2 or 3 items to compare", "other"=>"{{ count }} of 3 items selected"}

    Select first item to compare

    Select second item to compare

    Select third item to compare

    Compare