Skip to content

AQ2-1511-SSN Model: 1500W @ 120V 9" Immersion Length Unregulated Incoloy Sheath With Stainless Steel 1-1/4" NPT Screw Plug Immersion Elements

Call for Availability
Original price $ 0.00 - Original price $ 0.00
Original price
$ 0.00
$ 0.00 - $ 0.00
Current price $ 0.00
Availability:
Call for Availability

Therm Coil AQ2-1511-SSN Model

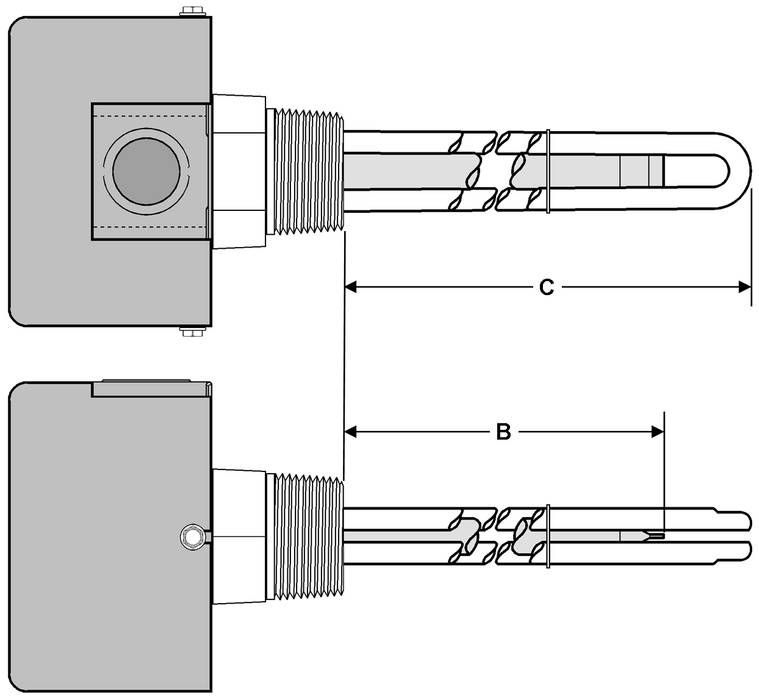
Drawing Number: 355D-1211-001

Series General Information:

  • INCOLOY® Sheath with Stainless Steel Screw Plug (Nickel Brazed or Welded): Incoloy is a type of alloy with higher corrosion resistance than either 304 or 316 stainless steel.  Our AQ2-SSN models with 30-55 watt density (W/IN.²) are suitable for clean water and corrosive liquids, such as process water with less than 6% alkaline or acid content; up to 2% caustic solutions.  Also suitable for demineralized or deionized water.
  • Unregulated (No Thermostat): If you need this type of element but with temperature control, please see our EAQ2-SSN Models.
  • Includes Thermowell: accommodates up to 3/8" DIA. sensing bulb.
  • NEMA 1, General Purpose Enclosure: the default enclosure type. If you require a Weather-Resistant and/or Explosion-Resistant Enclosures (Also Dust & Weather-Resistant), please contact us at 1-724-872-5007 or rheinhold@thermcoil.com.
  • Screw plug immersion heaters must be fully covered by your liquid to prevent heater failure. (Other medium applications are possible, but require factory consultation.)
  • All 240V models have the option to be operated at 208 VAC with a 25% reduction in wattage rating.

Specific Model Details

  • Rating: 1,500W @ 120V
  • Immersion Length (C): 9"
  • Thermowell Immersion Length (B): 7-1/2"
  • Watt Density: 47 W/IN.² NOM.
  • Therm Coil Drawing No.: 355D-1211-001

Series Technical Specifications

  • Element Sheath Material: Incoloy® Alloy
  • Quantity Of Elements: 2
  • Phasing: Single-Phase
  • Immersion Length: (C Dim.)
  • Terminal Connections: #10-32 Lug (Flag) Terminals & Includes (2x) 7" Lead Wires
  • Screw Plug Size: 1-1/4" NPT
  • Screw Plug Material: 304 Stainless Steel
  • Enclosure Type: NEMA 1 General Purpose
  • Thermowell Immersed Length: (B Dim.)
  • Thermowell Accommodates Sensing Bulb Size: .375" DIA.
  • Temperature Control Type: None
  • Temperature Control Range: N/A

Compare products

{"one"=>"Select 2 or 3 items to compare", "other"=>"{{ count }} of 3 items selected"}

Select first item to compare

Select second item to compare

Select third item to compare

Compare