Skip to content

AQ2-1541 Model: 1500W @ 240V 9" Immersion Length Unregulated Incoloy Sheath With Brass 1-1/4" NPT Screw Plug Immersion Elements

Call for Availability
Original price $ 0.00 - Original price $ 0.00
Original price
$ 0.00
$ 0.00 - $ 0.00
Current price $ 0.00
Availability:
Call for Availability

Therm Coil AQ2-1541 Model

Drawing Number: 355D-1002-007

Series General Information:

  • INCOLOY® Sheath with Brass Screw Plug (Silver Brazed): Our AQ2-models with 39-55 watt density (W/IN.²) have (2) elements, are single-phase, and for use in clean water, some marine environments including brackish water and seawater with moderate to low currents, and select mildly corrosive liquids (absolutely no hydroxides, cyanides, or oxidizing acids).
  • Unregulated (No Thermostat): If you need this type of element but with temperature control, please see our EAQ2 Models.
  • Includes Thermowell: accommodates up to 3/8" DIA. sensing bulb.
  • NEMA 1, General Purpose Enclosure: the default enclosure type. If you require a Weather-Resistant and/or Explosion-Resistant Enclosures (Also Dust & Weather-Resistant), please contact us at 1-724-872-5007 or rheinhold@thermcoil.com.
  • Screw plug immersion heaters must be fully covered by your liquid to prevent heater failure. (Other medium applications are possible, but require factory consultation.)
  • All 240V models have the option to be operated at 208 VAC with a 25% reduction in wattage rating.

Specific Model Details

  • Rating: 1,500W @ 240V (1,125W @ 208V)
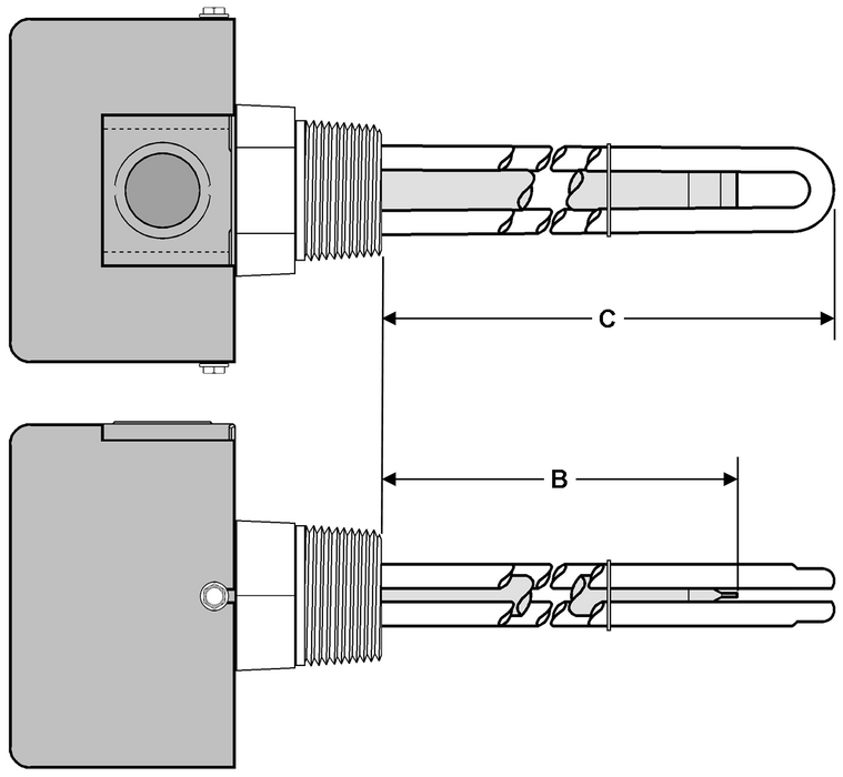
  • Immersion Length (C): 9"
  • Thermowell Immersion Length (B): 7-1/2"
  • Watt Density:  W/IN.² NOM.
  • Therm Coil Drawing No.: 355D-1002-007

If in doubt about which materials are required for your application, please contact us at 1-724-872-5007 or rheinhold@thermcoil.com.

General Information:

  • Includes Thermowell: accommodates up to 3/8" DIA. sensing bulb.
  • Screw plug immersion heaters must be fully covered by your liquid to prevent heater failure. (Other medium applications are possible, but require factory consultation.)
  • All 240V models have the option to be operated at 208 VAC with a 25% reduction in wattage rating.

Compare products

{"one"=>"Select 2 or 3 items to compare", "other"=>"{{ count }} of 3 items selected"}

Select first item to compare

Select second item to compare

Select third item to compare

Compare